oblvesti.com.ua

Все тільки цікаве на oblvesti.com.ua

Виды детских замков на пластиковые окна и методы их установки

Система защиты металлопластиковых и деревянных оконных проёмов представлена в виде техники и приспособлений, препятствующих открыванию створок малышами. Данные устройства считаются надежными от падения. Одновременно они не позволяют проникнуть грабителям в дом. Детский замок на пластиковые окна изготавливается в виде блокиратора, стопора, ручки, тросика.

Виды детских замков на пластиковые окна и методы их установки

Описание и основные разновидности

Чтобы блокировать евроокно, используются накладные и врезные замки, подвижные створки, розетки. В Москве наиболее распространённым вариантом считается монтаж ручки с врезным замком. Данная система надёжная и легко монтируется самостоятельно. В комплект входит набор ключей. Приобрести механические и электромеханические замки, для входных дверей Вашей квартиры и любых других зданий, для распашных и раздвижных систем и многие другие можно на сайте — houselock.com.ua.

Для фиксации створки используется детский замок для окна в виде блокиратора. Маленькую защелку можно установить:

Виды детских замков на пластиковые окна и методы их установки

  1. снизу;
  2. по центру;
  3. вверху.

Блокатор фиксируется к неподвижной части рамы. Если защелка опущена, можно закрывать/открывать створку. В поднятом состоянии ребёнок не способен открыть окно. Современные европейские и российские компании выпускают дополнительные устройства с ключами и кнопками. Таким способом повышается безопасность.

Для их фиксации потребуется:

  1. определиться с местом расположения;
  2. установить крепления;
  3. зафиксировать блок саморезами на неподвижной части стеклопакета.

Цена зависит от вида устройства. Чтобы установить сам блокиратор, потребуется выполнить разметку карандашом. Сделать отверстия с помощью дрели. Поставить блокиратор, зафиксировав его саморезами. Одно отверстие закрывается специальной заглушкой, а в другое производится установка замка с ключом.

Для блокиратора характерны следующие плюсы:

  1. доступная цена во многих московских компаниях и по всей России (Санкт-Петербург, Воронеж, Барнаул);
  2. быстрая установка.

Из минусов специалисты выделяют отсутствие эстетичного внешнего вида и низкий функционал.

Ручка и тросики

Чтобы заблокировать откидные окна без поворотного механизма, заменяется обычная ручка съёмным аналогом с розеткой-заглушкой. Монтаж защитного устройства начинается с откручивания старой ручки. Она заменяется новым блоком, а фиксируется болтом. Плюсы съёмной конструкции:

Виды детских замков на пластиковые окна и методы их установки

  1. презентабельный внешний вид;
  2. использование заглушки.

Минус замковой розетки связан с необходимостью постоянно носить устройство с собой и прятать от ребёнка. К подвижным ограничителям относится тросик-блокиратор. Его можно купить в любом цвете в строительном гипермаркете Леруа Мерлен либо другом магазине. Принцип блокировки детского замка на окна ПВХ — тросик ограничивает расстояние, на которое возможно открыть створку. Если нужно её распахнуть, вставляется ключ, отсоединяется тросик.

Подобная конструкция эффективна для форточек, балконных рам. Чтобы её установить, потребуется выполнить следующие шаги:

Виды детских замков на пластиковые окна и методы их установки

Виды детских замков на пластиковые окна и методы их установки

  1. Выполняется разметка на подвижной части рамы. Специалисты советуют монтировать тросик над поворотной ручкой.
  2. Фиксируется блок с помощью шуруповёрта.
  3. Выполняется разметка на неподвижной части с целью монтажа блока и тросика.
  4. Устройство крепится саморезами.
  5. Выполняется монтаж декоративных накладок.
  6. Выбор в блоке режима «Открыто».
  7. Установка тросика.
  8. Блокировка замка.

Если работа завершена, рекомендуется проверить функциональность блока. Для тросика характерны следующие плюсы: выдержка нагрузки до 500 кг, установка на алюминиевую, пластиковую и другие оконные конструкции, ограничивается и фиксируется угол открывания. Тросик обеспечивает открытие створок на нужное расстояние.

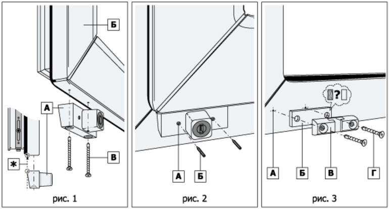
Элементы врезного механизма

К надёжным замкам на пластиковые окна для детей относится врезной механизм. Он устанавливается внутри профиля, а снаружи остаётся отверстие для ключа. Монтажные работы проводятся по определённой схеме:

Виды детских замков на пластиковые окна и методы их установки

  1. вырезка участка на подвижной створке для замка с помощью фрезера;
  2. вставка основного блока с последующей его фиксацией болтами;
  3. вырезка другого отверстия в неподвижной створке;
  4. вставка второй части замка и его фиксация.

К плюсам такой защиты относится надёжность, а из минусов выделяется сложная установка. Ручка со встроенным стопором либо замком считается одной из лучших защитных средств детей от возможного падения. Она монтируется вместо обычного аналога. Для её поворота вставляется в замок ключ. Фиксация срабатывает в открытом и закрытом состоянии створки.

Элементы механизма:

  1. рычаг;
  2. накладной корпус;
  3. штифт.

Монтажные работы включают блокировку новой ручки. После поворота заглушки откручивается крепёж, демонтируется старая конструкция. В отверстие вставляется новая ручка. Соблюдается положение, в котором демонтировался заводской аналог. Ручка с фиксатором легко монтируется своими руками. Работа выполняется без фрезерного инструмента, болгарки с дисковыми элементами, шуруповёрта.

Дополнительные средства

Виды детских замков на пластиковые окна и методы их установки

Специалисты советуют использовать одновременно комплексную систему безопасности. Не рекомендуется ограничиваться только одним замком на окно ПВХ от детей. Нельзя устанавливать москитную сетку, чтобы защитить малышей от выпадения. Она не способна выдержать их вес. Производители евроокон изготавливают такую конструкцию для предотвращения проникновения насекомых в дом.

К дополнительным защитным средствам относятся решётки, антивандальное плёночное покрытие. Можно установить на раму накладной замок, схожий на аналог для почтовых ящиков. Чтобы не портить ПВХ окно, монтируется декоративная решётка. Процедура выполняется с помощью металлических кронштейнов. Изделие устанавливается в откосы. Конструкция представлена в виде прутьев, обработанных противокоррозийным средством.

Её можно сделать самостоятельно, воспользовавшись тонкими металлическим прутьями и сварочным аппаратом, либо купив в готовом виде. Некоторые компании, специализирующиеся на производстве и продаже евроокон, занимаются изготовлением металлических решёток. При желании клиента в договоре прописываются не только условия доставки и установки металлопластиковых конструкций, но и решёток на все окна дома/квартиры.

Другое дополнительное средство — антивандальная плёнка. Она защищает ребёнка от осколков при повреждении стекла. Для неё характерно отражающее действие, быстрый монтаж, защита от взлома. Плёнка легко фиксируется к окну.

Ведущие производители

Специалисты не советуют экономить на безопасности. Рекомендуется покупать продукцию от европейского производителя. Для неё характерны долговечность и надёжность. Австрийская фирма «Maco» изготавливает ручки с запором, кнопкой и ключом. Немецкая компания «Roto» предлагает ручки для фиксации откидных створок в нескольких режимах, включая проветривание.

Продукция других производителей:

Виды детских замков на пластиковые окна и методы их установки

  1. «Hoppe Secustik». Выпускает тросы, позволяющие переводить окно в режим проветривания с помощью ручки.
  2. «BSL». Специализируется на производстве надёжных блокираторов, которые не требуют замены фурнитуры. При необходимости можно купить от фирмы держатели красного цвета.
  3. «Penkid». Производят тросики длиной 20 см. Они позволяют распахнуть окно на 10 см.
  4. «Jackloc». Изготавливают прочные тросики и ручки-замки.

Правила выбора

Виды детских замков на пластиковые окна и методы их установки

Согласно действующему законодательству РФ, с 2016 года производители обязаны укомплектовывать металлопластиковые окна защитными механизмами с учётом ГОСТа. Некоторые родители при оформлении заказа отдают предпочтение ручке с замком, так как она легко устанавливается и эксплуатируется.

Специалисты рекомендуют выбирать защитный механизм, учитывая уровень безопасности, личные предпочтения. Блокиратор не требует постоянного открывания и закрывания ключом. Он монтируется на любой плоскости. Лучше его устанавливать с отступом от края в 10 мм. Замок оснащён двусторонним скотчем, который позволяет точно выполнить монтажную работу.

Если дети разберутся в принципе функционирования блокиратора, они не смогут его открыть, так как после закрытия замок блокируется. Чтобы вернуть его в первоначальное положение, понадобится ключ. Некоторые производители предусматривают щелевые проветриватели, простые в эксплуатации.

Если нажать на соответствующую кнопку, створка начнёт двигаться. Система не считается надёжной, поэтому её лучше использовать без детей. Для повышения степени безопасности рекомендуется устанавливать на окна блокиратор с ручкой и металлической решёткой.

Виды детских замков на пластиковые окна и методы их установки

При наличии раздвижной ПВХ конструкции специалисты советуют использовать ручку с замком. Она не позволяет распахивать створки. Для фиксации ручки применяется двусторонний скотч. При выборе механизма учитывается тип ограничителей, которые регулируют угол открытия окна.

Устройство с тремя пазами быстро тормозит движение створки, блокируя её последующее раскрытие. Дополнительно ограничители защищают стены и откосы от повреждений. Если монтажные работы планируется выполнять своими руками, лучше покупать внешние фиксаторы. Внутренние защитные устройства должны устанавливать профессионалы, чтобы не сместились элементы, не образовались щели между составными деталями.

От правильной эксплуатации зависит срок службы защитного механизма. Если используется ручка с замком, учитывается максимальный угол поворота. Нельзя использовать рукоятку при открытом окне. Один раз в год потребуется смазать технической жидкостью подвижные элементы фурнитуры. Не рекомендуется использовать средства с кислотами и химикатами в составе. В противном случае быстро разрушится антикоррозийное покрытие фурнитуры.

На срок службы защитных механизмов влияет состояние самой рамы и створки. Последние элементы нужно очищать дважды в год обычными салфетками либо специальным моющим средством для пластика. Запрещено чистить стеклопакет жидкостями, в состав которых входит растворитель либо ацетон. За счёт периодической чистки водоотводной системы обеспечивается выход влаги наружу. Работа выполняется влажной тряпкой. Своевременный уход за уплотнителями — надёжная профилактика сквозняка.

Отзывы пользователей

Установили ручку в качестве детского замка на пластиковые окна. Механизм брали от компании «BSL». При покупке проверил комплектацию. Монтаж выполнял самостоятельно. Благодаря подробной инструкции от производителя работу выполнил быстро. Само устройство функционирует без проблем.

Игнат, 29 лет

Около двух лет назад поставили евроокна. Но год назад у нас родился сын. Так как мы живём на пятом этаже, поэтому подумали с мужем установить дополнительную защиту в виде ручки с замком на пластиковые окна для детей. Воспользовались услугами профессионалов. Нам посоветовали купить продукцию от компании «Penkid». Мы остались довольными.

Ирина, 32 года

Купили квартиру в новостройке. Приятно был удивлён, когда на ПВХ окнах увидел защиту для детей в виде тросиков. Устройство надёжное, компактное, не мешает открывать и закрывать створки.

Андрей, 38 лет

Добавить комментарий

Ваш адрес email не будет опубликован. Обязательные поля помечены *

*

code